Cor: Transparente, extran claro, bronze, cinza, azul escuro, verde escuro
Espessura: 2 mm, 2.2 mm, 2.5 mm,3 mm, 3.2 mm, 4 mm, 5 mm, 6 mm, 8 mm, 10 mm, 12 mm, 15 mm, 19 mm
Tamanho: tamanhos costumizados disponíveis com medidas até 3660*11000 mm
Pedido mínimo: Contêiner de 1x20'GP
Padrão: GB15763.4-2009 (China), EN14179-1:2005 (UE) e DIN18516 (Alemanha)
O vidro de imersão de calor é um tipo de vidro temperado que foi submetido a um processo especial destinado a reduzir o risco de quebra espontânea, que é uma falha comum do vidro temperado. Isso significa que o vidro temperado pode quebrar por conta própria sem qualquer força externa durante o processamento, armazenamento, transporte, instalação ou uso. Tal ocorrência representa um risco significativo para a segurança de qualquer pessoa próxima.
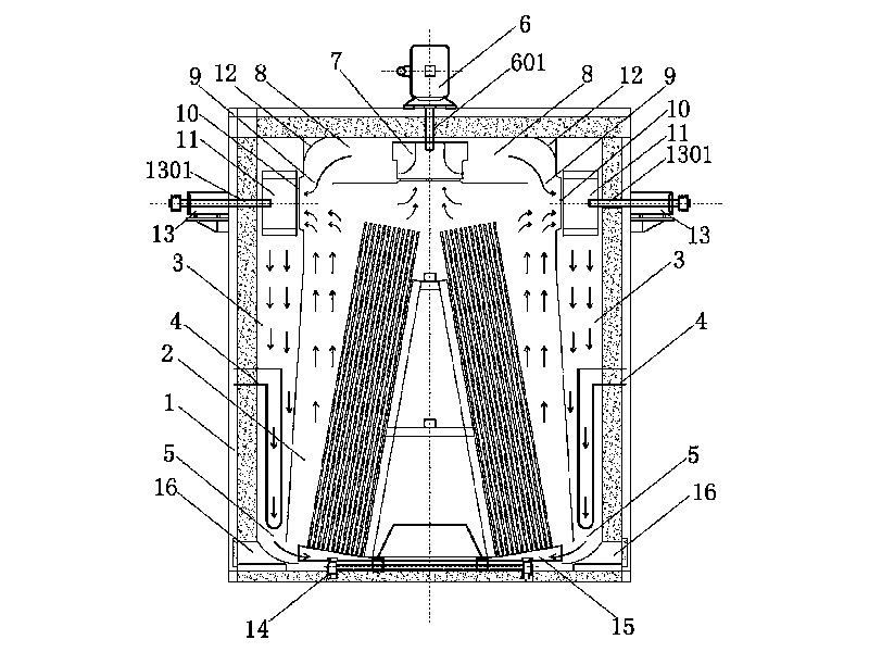
Para ultrapassar este problema, o vidro temperado sofre imersão térmica, o que implica aquecê-lo a 290103 em um forno especializado e manter uma temperatura constante por um período específico. Durante este processo, os cristais de sulfeto de níquel (NiS) presentes no vidro sofrem rápida transformação da fase cristalina, levando à expansão acelerada dentro do vidro temperado. Consequentemente, qualquer vidro temperado que, de outro modo, pudesse ter partido espontaneamente após a utilização quebra no forno de homogeneização da fábrica, diminuindo assim a probabilidade de quebra espontânea durante a instalação e utilização.
Embora não possamos garantir que o vidro vidro de imersão de calor não se quebre espontaneamente, o nosso processo de imersão por calor apresenta uma taxa reduzida de quebra espontânea para aproximadamente um em dez mil.
Para sua segurança alta, o vidro de imersão de calor tem aplicações difundidas em box de chuveiro, em armários de banheiros em clarabóias em espaos com sol, em passagens de vidro, em trilhos de vidro, e em vidro do stairway.
Sobre este produto deseja obter mais informações?
Como especialistas em produtos de vidro, nós da CHINASTAR GLASS acreditamos firmemente que não há nada mais persuasivo do que os depoimentos positivos de nossos clientes. Sempre nos esforçamos para conquistar a confiança contínua de nossos clientes internacionais com serviços especializados e produtos de vidro de alta qualidade, incluindo vidro float, vidro impresso, vidro solar, vidro laminado, vidro temperado e outras chapas de vidro que excedem suas exigências a preços competitivos. Com mais de 20 anos de experiência no setor de vidros, nosso conhecimento agora se estende por diversos setores do mercado. Com uma compreensão meticulosa de vários setores, nosso portfólio de produtos também abrange vidro arquitetônico, vidro decorativo, vidro doméstico, vidro automotivo, vidro especial e muito mais. Nosso objetivo é a inovação e o aprimoramento contínuos para oferecer a solução certa para as necessidades de nossos clientes.
Com sede na China, fabricamos vidros arquitetônicos e decorativos de alta qualidade. Junte-se a nós para criar oportunidades duradouras e sucesso mútuo!
Entre em contato